Family Link: la app di Google per gli under 13 e i loro genitori
Family Link: un’applicazione che consente ai genitori di gestire i contenuti presenti nei dispositivi dei propri figli. Lanciata la versione beta.
Joto, la lavagna robotica che disegna i tweet e i messaggi Slack nella vita reale
Lo studio di design Those sta realizzando Joto, una lavagna intelligente, il primo display connesso che disegna per mezzo di una penna.
Google divide Hangouts in Chat e Meet
Google divide Hangouts in due: Hangouts Chat (che punta a Slack) e Hangouts Meet, che ruoterà attorno alle comunicazioni audio e video.
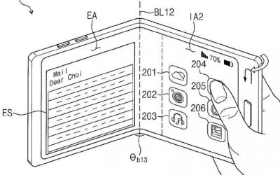
Samsung Galaxy X : nuovi brevetti mostrano come sarà
Samsung Galaxy X : nuovi brevetti di Samsung vengono alla luce, suggerendo un rivoluzionario design Trifold, eccome come sarà il rivoluzionario Samsung pieghevole e aundo è prevista l’uscita.
Gastone Nencini, Trend Micro : 5 cose che potrebbero accadere con l’entrata in vigore del GDPR
Il GDPR entra in vigore fra pochi giorni. Cosa potrebbe succedere effettivamente? Quando vedremo scattare le prime multe? Gastone Nencini, Country Manager Trend Micro Italia, propone una riflessione su cinque scenari che potrebbero manifestarsi, in seguito all’entrata in vigore del nuovo regolamento.
Profili Instagram più seguiti 2018: la top 20
I profili Instagram più seguiti 2018: attrici, cantanti, giocatori di calcio, vip, regine del gossip ecco la classifica Instagram, i 20 profili che hanno più follower sul social delle immagini.
Nessun risultato
La pagina richiesta non è stata trovata. Affina la tua ricerca, o utilizza la barra di navigazione qui sopra per trovare il post.
Nessun risultato
La pagina richiesta non è stata trovata. Affina la tua ricerca, o utilizza la barra di navigazione qui sopra per trovare il post.
Nessun risultato
La pagina richiesta non è stata trovata. Affina la tua ricerca, o utilizza la barra di navigazione qui sopra per trovare il post.
Nessun risultato
La pagina richiesta non è stata trovata. Affina la tua ricerca, o utilizza la barra di navigazione qui sopra per trovare il post.
Nessun risultato
La pagina richiesta non è stata trovata. Affina la tua ricerca, o utilizza la barra di navigazione qui sopra per trovare il post.
